




За консультациями обращайтесь по тел. (812) 448-29-07(08) или по электронной почте
ЖБИ для промышленного строительства















Компания «Бетокон» уделяет большое внимание элементам фасада здания. Современные технологии позволяют превратить серые и скучные стеновые железобетонные панели в красивые и неповторимые элементы здания. Железобетонные стеновые панели - это долговечные, прочные элементы фасада, обладающие высокими показателями по звукоизоляции, влагостойкости и экологичности. Имея большой ряд положительных качеств, стеновые железобетонные панели остаются достаточно не дорогим материалом для строительства.
Железобетонные стеновые панели подразделяются на три основных группы:
1. Несущие. Несущие железобетонные панели в процессе эксплуатации воспринимают вертикальные нагрузки от собственного веса и опирающихся на нее других конструкций (перекрытий, крыши и других элементов здания) и передающие эту нагрузку на фундамент.
2. Самонесущие (навесные). Самонесущие железобетонные панели воспринимают вертикальную нагрузку только от собственного веса и веса вышележащих панелей и передающие ее на фундамент.
3. Цокольные железобетонные панели.
Более подробная информация по классификации панелей - в ГОСТ 31310-2005.
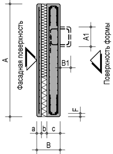
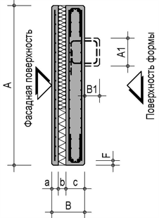
Технические характеристики индивидуальных железобетонных стеновых панелей
Материалы железобетонных панелей.
Трехслойные железобетонные стеновые панели изготавливаются с любыми размерами оконных и дверных проемов.
Панели изготавливаются с фаской по граням F 2,5 до 5 см.
Марка бетона выбирается на основании требований по долговечности и прочности. Как правило, наружные и внутренние конструктивные слои, выполняются из тяжелого бетона класса не ниже В25, водонепроницаемость W6, морозостойкость F100 (F150 для цокольных панелей).
В качестве утеплителя обычно используется жесткая минеральная вата или пенополистерол. При применении минеральной ваты предусматривается система отведения влаги.
При изготовлении железобетонных стеновых панелей обычно применяется арматурная сетка Ø 5мм с ячейкой 100-150мм.
Бетонные слои скрепляют между собой гибкими связями, обеспечивающими общую жесткость и прочность панели. Конструкция гибких связей состоит из отдельных стальных стержней, соединяющих внутренний и наружный слои в целую конструкцию, в которой эти связи не препятствуют температурным деформациям наружного и внутреннего слоев панели, что благоприятно влияет на напряженное состояние несущего внутреннего слоя. Элементы гибких связей выполняют из коррозионностойкой легированной стали или из обычной стали с защитным покрытием.
Размещение гибких связей зависит от формы и веса панелей, внешних нагрузок, величины расширения движений наружного слоя, а также характеристик по прочности и деформации.
Фасадная поверхность.
Наружная отделка стеновой железобетонной панели может быть разнообразной: ровная бетонная поверхность, имитация кирпичной кладки, отделка плиткой, мытая поверхность и т.п.
Проектирование.
Обращаясь к нам на этапе проектирования здания, Вы получите квалифицированные консультации и варианты готовых решений, адаптированных под современные нормы строительства. В комплекс услуг по проектированию входит разработка КЖ и КЖИ чертежей железобетонных стеновых панелей.
Также Вы можете заказать типовые сборные железобетонные трехслойные стеновые панели по сериям 1.432.1-21, 1.432.1-26.
-1-ts1650374987.png?ts=1741204737)




-2-ts1650375268.png?ts=1741204737)




-1-ts1650375409.png?ts=1741204737)




-1-ts1650375545.png?ts=1741204737)



