




За консультациями обращайтесь по тел. (812) 448-29-07(08) или по электронной почте
ЖБИ для промышленного строительства















Цокольные стеновые трехслойные железобетонные панели, производимые производятся согласно документации разработанной нашей компанией (раздел КЖ и КЖ.И) и разделяются на 2 основных типа:
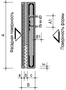
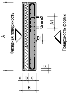
Технические характеристики цокольных железобетонных панелей
Как сделать заказ на цокольные трехслойные железобетонные панели:
1. Выслать по электронной почте sales@betokon.ru план здания на нулевой отметке, архитектурно-строительные чертежи здания (планы, фасады и разрезы) и пояснительную записку (указываете вид отделки панели и другие требования).
2. После отправки вышеуказанной информации вы получаете коммерческое предложение, которое включает в себя проектирование, изготовление и доставку на объект.
3. В случае положительного решения со стороны Заказчика - составляется договор.
Почему Заказчики выбирают сборные цокольные железобетонные панели?
1. Они значительно уменьшают сроки строительства (в 1,5-2 раза быстрее монолита ), стоимость (дешевле монолита на 20% ) и трудозатраты.
2. Полная заводская готовность и высокое качество.
3. Заказчик получает независимость от погодных условий (зима, мороз).
В качестве теплоизоляции применяется плитный пенополистирол, либо жесткие минераловатные плиты.
Стены из трехслойных панелей с теплоизоляцией из пенополистирола имеют предел огнестойкости равный 2,5 часа, с теплоизоляцией из минераловатных плит – предел огнестойкости не менее 3 часов.
Марка бетона по морозостойкости не ниже F75. Марка бетона по водонепроницаемости при слабоагрессивной среде применения - W4; при среднеагрессивной среде- W6; при сильноагрессивной среде -W8.
Трехслойные железобетонные панели изготавливаются с любыми размерами оконных и дверных проемов.
Панели изготавливаются с фаской по граням F 2,5 до 5 см.
Фасадная поверхность.
Наружная отделка стеновой панели может быть разнообразной: ровная бетонная поверхность, имитация кирпичной кладки, отделка плиткой, мытая поверхность и т.п.
Проектирование.
Обращаясь к нам на этапе проектирования здания, Вы получаете квалифицированные консультации и варианты готовых решений, адаптированных под современные нормы строительства. В комплекс услуг по проектированию входит разработка КЖ и КЖИ чертежей железобетонных элементов.